Поверните крышку 2 с электродвигателем против часовой стрелки и снимите их в сборе с нагнетательным насосом с питающего бачка.
Установку выполняйте в обратном порядке.
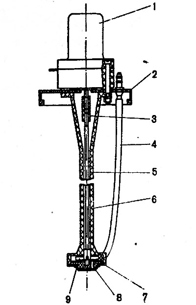
Рис. 8-26. Насос омывателя: 1 - электродвигатель; 2 -крышка питающего бачка, 3 - муфта; 4 - трубка подачи жидкости, 5 - корпус насоса; 6 - вал ротора; 7 - опора вала ротора; 8 - ободок с сеткой фильтра, 9 - ротор
