Рис. 3.4. Баллоны для ГСН: а - цилиндрический; б - тороидальный
Таблица 3.1. Характеристики газовых баллонов для КПГ
Отдельно вентили для заправки, расхода жидкой и газообразной фаз, контроля уровня, а также предохранительный клапан аварийного сброса давления могут располагаться на баллонах большой вместимости (более 100 л).
В нижней точке цилиндрической части баллона может иметься отверстие с пробкой для слива конденсата. В табл. 3.1 представлены основные характеристики ряда выпускаемых в настоящее время баллонов.
Блок запорно-предохранительной арматуры (мультиклапан) предназначен для установки на баллоне ГСН (рис. 3.5). Он служит для автоматического контроля уровня и прекращения заправки и подачи ГСН в магистраль. Мультиклапан также обеспечивает герметичность баллона в случае аварийного обрыва подсоединенных к баллону трубок. При повышении давления в баллоне выше рабочего (1,6 МПа) вследствие нагрева или пожара мультиклапан стравливает газ, предотвращая взрыв баллона.
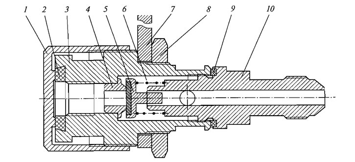
Рис. 3.5. Мультиклапан: 1 - предохранительный клапан; 2 - шарик; 3 - штуцер входной; 4 - гайка; 5 - переходник; 6 - скоростной клапан; 7 - корпус; 8 - прокладка; 9 - прозрачный корпус; 10 - магнитная стрелка; 11 - шкала; 12 - ось стрелки; 13 - автоматический клапан; 14 - штуцер; 15 - трубка забора газа; 16 - регулировочный винт; 17 - опора клапана; 18 - поплавок; 19 - пружина; 20, 22, 24 и 28 - прокладки; 21 - седло клапана; 23 - заправочный вентиль; 25 - сетка фильтра; 26 - стопорное кольцо; 27 - расходный вентиль; 29 - вставка клапана; 30 - пружина; 31 - пломба
Корпус мультиклапана крепится винтами к фланцу баллона. Герметичность соединения обеспечивается прокладкой 8. Во время заправки газ поступает в баллон через входной штуцер 3, преодолевая усилие подпружиненного шарика 2. По мере наполнения баллона газом поднимается поплавок 18.
В момент, когда уровень газа достигнет 80 % от объема баллона, автоматический клапан 13 (отсекатель) перекроет поступление газа и заправка газом прекратится. Шарик 2 перекроет обратный выход газа из баллона.
Газ из баллона поступает в магистраль по трубке забора газа 15, отжимая шарик скоростного клапана 6 через расходный вентиль 27. Во время хранения автомобиля на стоянке расходный 27 и заправочный 23 вентили надежно перекрывают баллон.
В случае нагрева баллона свыше 45°C или пожара открывается предохранительный клапан 1, стравливая избыточное давление газа. Количество газа в баллоне контролируется магнитной стрелкой 10 по шкале 11. Стрелка перемещается вмонтированным в автоматический клапан 13 магнитом и защищена прозрачным корпусом 9.
Максимально допустимый объем заправляемого газа предварительно регулируется винтами 16.
Для обеспечения естественной циркуляции воздуха для вентилей мультиклапана в случае утечки газа его устанавливают в вентиляционной коробке, которая имеет патрубки для циркуляции воздуха.
(Источник находится на веб-сайте: VAZbook.ru)
Газовые баллоны для КПГ. Баллоны для КПГ (рис. 3.6) предназначены для хранения на борту автомобиля газа при температуре от —60 до +50°C при максимальном рабочем давлении 19,6 МПа. Отечественная промышленность выпускает автомобильные баллоны для КПГ объемом от 34 до 400 л. Их изготавливают из стальных бесшовных труб или листовых заготовок, а также из композитных материалов.
Рис. 3.6. Баллоны для КПГ: а - тип 1; б - тип 2; в - тип 3; г - тип 4
Автомобильные баллоны для компримированного природного газа изготавливают по ГОСТ 949 — 73 из углеродистой или легированной стали и подвергают специальной обработке (из углеродистой стали — нормализации, а из легированной — закалке с отпуском), обеспечивающей однородную структуру металла и безосколочность при разрушении. Баллон представляет собой бесшовный сосуд цилиндрической формы со сферическими днищами. В горловине баллона имеется резьба для ввинчивания вентиля.
Для уменьшения массы баллонов применяются композитные материалы, выпускаемые по ТУ 45591-001-29416612 — 94 «Баллоны автомобильные газовые облегченные» (для баллонов с металлическим корпусом, армированным пропитанной смолой жгутовой нитью, намотанной в виде обруча).
Характеристики баллонов для КПГ, выпускаемых в России, представлены в табл. 3.2.
Таблица 3.2. Характеристики газовых баллонов для КПГ
Наружная и внутренняя поверхности баллонов должны быть без раковин, закатов и трещин.
На все газовые баллоны КПГ и ГСН, предназначенные для установки на ГБА, распространяются «Правила устройства и безопасной эксплуатации сосудов, работающих под давлением».
Автомобильные газовые баллоны, являющиеся сосудами, работающими под давлением, должны подвергаться техническому освидетельствованию (периодическому в процессе эксплуатации и в необходимых случаях — внеочередному). Автомобильные газовые баллоны не подлежат регистрации в органах Госгортехнадзора.
Баллоны для ГСН должны проходить испытания (освидетельствование) один раз в два года. Стальные баллоны для КПГ из углеродистой стали освидетельствуются один раз в три года, из легированной стали и композитных материалов — один раз в пять лет. На каждом баллоне должны быть нанесены следующие данные: товарный знак или наименование завода-изготовителя; порядковый номер баллона; месяц и год изготовления и год следующего испытания; рабочее давление Р и пробное гидравлическое давление 11; объем баллона (в л) с точностью±0,2 л; масса баллона (в кг) с точностью±0,2 кг; клеймо ОТК завода-изготовителя; ГОСТ, по которому изготовлен газовый баллон (рис. 3.7).
Рис. 3.7. Маркировка баллона КПГ
На баллонах, изготовленных из композитных материалов, маркировка наносится на цилиндрической части краской.
Запорная арматура для КПГ устанавливается на баллонах, а также в магистрали высокого давления. Она состоит из вентилей различного назначения, заправочных устройств, шаровых кранов и клапанов.
Запорная арматура устанавливается для управления поступлением газа из газовых баллонов, для связи баллонов и участков газовой магистрали, а также для заправки и подсоединения выносного заправочного узла. Вентили позволяют обеспечить безопасность и удобство обслуживания газобаллонного оборудования. Они рассчитаны на давление не более 25,0 МПа.
На рис. 3.8 показан баллонный вентиль.
Рис. 3.8. Вентиль: 1 - корпус; 2 - клапан; 3 - вставка уплотнительная; 4 - маховик; 5 - шпиндель
На рис. 3.9 представлен вентиль для дренажной схемы. Вентиль имеет дренажные каналы 10 и 13. В случае утечки газа из внутренних полостей вентиля газ поступит по этим каналам в вентиляционные кожухи (по аналогии с вентиляционной системой баллона ГСН). Также данный вентиль оснащен скоростным клапаном 12. Этот клапан перекроет канал входа-выхода газа 7 в случае аварийного обрыва трубопроводов, подсоединенных к штуцеру 9.
Рис. 3.9. Вентиль баллонный для дренажной схемы подключения: 1 - ручка вентиля; 2 - уплотнения дренажа; 3 - втулка резьбовая; 4 и 5 - основные уплотнения; 6 - запорный шток с вставкой уплотнительной; 7 - канал входа-выхода газа; 8 - предохранительный температурный клапан; 9 - штуцер; 10 и 13 - дренажные каналы; 11 - пружина; 12 - скоростной клапан; 14 - корпус
Для наполнения газовых баллонов служат устройства, расположенные в удобных и безопасных для заправки и эксплуатации автомобиля местах.
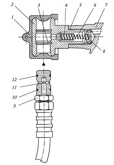
Выносная заправочная горловина (рис. 3.10) предназначена для подключения и заправки ГСН. Она подсоединяется к заправочному трубопроводу через выходной штуцер 10. Заправочная струбцина шланга газовой колонки подсоединяется к фланцу корпуса 3. Для уплотнения этого соединения служит резиновая прокладка 2. Во время поступления газа под давлением клапан 5 находится в открытом состоянии. По окончании заправки он автоматически перекроет заправочный трубопровод. Выносная заправочная горловина крепится к кузову автомобиля при помощи кронштейна 7, который прижимается гайкой 8.
Рис. 3.10. Выносное заправочное устройство: 1 - заглушка; 2 - резиновая прокладка; 3 - корпус; 4 - седло клапана; 5 - клапан; 6 - пружина; 7 - кронштейн; 8 - гайка; 9 - кольцо уплотнительное; 10 - выходной штуцер
Выносной заправочный узел (рис. 3.11) предназначен для подсоединения системы питания КПГ к наконечнику заправочного шланга 9 при заправке баллонов газом.
Рис. 3.11. Выносной заправочный узел: 1 - защитный колпачок; 2 - штуцер заправочный; 3 - кольцевая канавка; 4 - обратный клапан; 5 - кольцо уплотнительное; 6 - пружина; 7 - корпус вентиля; 8 - упорный элемент; 9 - наконечник заправочного шланга; 10 и 12 - кольца распорные уплотнительные; 11 - канал подачи газа
Фиксация и герметизация соединения штуцера 2 заправочного узла производится при помощи двух кольцевых канавок в штуцере и распорных колец 10 и 12 на наконечнике 9. Они также препятствуют отсоединению заправочного шланга до окончания заправки. Во время заправки обратный клапан 4 открыт под действием давления.
Обратный клапан 4 и пружина 6 препятствуют выбросу газа из системы при отсоединении заправочного устройства газонаполнительной станции. На заправочный штуцер 2 надевается защитный колпачок 1.
