Установка антенны 1579.03
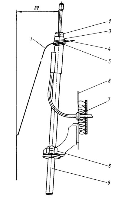
Отсоединяют провод от клеммы «минус» аккумуляторной батареи. Просверливают в левом крыле автомобиля отверстие диаметром 14+0,18 мм на расстоянии 322 мм от вертикальной плоскости, проходящей через ось переднего колеса и 82 мм от наружной поверхности крыла (рис. 157). Покрывают кромки отверстия противокоррозионным составом или эмалью.
Рис. 157. Установка антенны: 1 - левое крыло автомобиля; 2 - гайка; 3 - уравнительная головка; 4 - прокладка; 5 - пружинная шайба; 6 - брызговик левого колеса; 7 - уплотнитель; 8 - втулка; 9 - корпус антенны
Снимают с антенны гайку 2, уравнительную головку 3 и прокладку 4. Пружинная шайба 5 остается на антенне, так как она должна находиться под крылом. Надевают на нижний конец корпуса антенны втулку 8. С внутренней стороны крыла вставляют верхний конец антенны в просверленное отверстие, продев ее сначала сквозь отверстие в кронштейне на брызговике левого колеса.
Устанавливают прокладку 4, уравнительную головку 3 и закрепляют антенну гайкой. Передвинув втулку 8 по корпусу антенны вверх, вставляют ее в отверстие кронштейна брызговика.
Вынимают заглушку из брызговика левого колеса, надевают на кабель антенны уплотнитель 7 и проводят кабель антенны в салон автомобиля. Смазывают уплотнитель 7 и кромки отверстия в брызговике мастикой типа 51Г7 и вставляют уплотнитель в отверстие брызговика. Прокладывают кабель антенны вдоль жгута проводов панели приборов и прикрепляют к нему хомутами.
Снятие антенны производят в обратном порядке.
Установка громкоговорителей
Снимают облицовки громкоговорителей на обивках задка,устанавливают и закрепляют громкоговорители самонарезающими винтами, а затем устанавливают облицовки на место. Снимают левую облицовку порога пола, нижнюю обивку задних стоек, облицовку левого переднего ремня безопасности и отворачивают болт крепления ремня к полу кузова.
Отгибают левые кромки ковриков пола и багажника. Прокладывают провода от места установки радиоприемника к громкоговорителям вдоль жгута проводов панели приборов и заднего жгута проводов по полу кузова. Закрепляют провода на полу кузова через каждые 500 мм липкой лентой. Присоединяют провода к громкоговорителям.
Снятие громкоговорителей производят в обратном порядке.
Установка радиоприемника
Вынимают коробку для мелких предметов из консоли панели приборов и устанавливают в освободившееся гнездо радиоприемник, действуя, как описано в инструкции на радиоприемник. Провод питания радиоприемника приматывают к жгуту панели приборов липкой лентой и подключают к клемме «INT» выключателя зажигания. Провод корпуса прикрепляют к кузову гайкой крепления отопителя.
