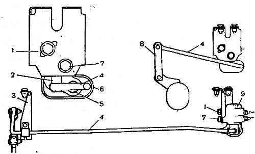
Рис. 6-6. Схема установки регулятора давления задних тормозов и его регулировки: 1, 7 - болты крепления регулятора; 2 - поршень; 3 - кронштейн опорной втулки; 4 - рычаг привода регулятора давления; 5 - ось; 6 - защитный колпачок; 8 - тяга; 9 - регулятор давления; X = 150±5 мм.
Рис. 6-7. Установка приспособления 67.7820.9519 для регулировки положения регулятора давления задних тормозов: 1 - приспособление 67.7820.9519; 2 - рычаг привода регулятора давления
Приподнимите защитный резиновый колпачок 6 (рис. 6-6) и, поворачивая регулятор давления на болтах, добейтесь легкого соприкосновения рычага с поршнем 2.
Удерживая регулятор в этом положении, затяните до отказа болты 1 и 7, затем покройте тонким слоем смазки ДТ-1 ось 5 и выступающую часть поршня 2. Заложите 5-6 г этой же смазки в резиновый колпачок 6 и установите его на место.
Снимите приспособление 67.7820.9519 и соедините конец рычага с тягой 8.
