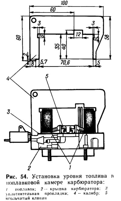
Правильность установки поплавка 1 (рис. 54) проверяют калибром 4, для чего крышку 2 карбюратора устанавливают горизонтально поплавком вверх и ставят калибр перпендикулярно крышке. Между калибром и поплавком сверху и с боков должен быть зазор не более 1 мм. При необходимости его регулируют подгибанием язычка и рычагов поплавка. Опорная поверхность язычка должна быть перпендикулярна оси игольчатого клапана 5 и не должна иметь вмятин и забоин.

При отсутствии калибра уровень топлива можно проверить, сняв крышку поплавковой камеры. Для этого предварительно вручную заполняют поплавковую камеру топливом, отсоединяют шланг подачи топлива в карбюратор и снимают воздушный фильтр и крышку карбюратора. Замеряют линейкой уровень топлива в камере от верхней плоскости корпуса карбюратора, который должен быть 23,5...27 мм (истинный уровень топлива в поплавковой камере при установленной крышке карбюратора-выше за счет погружения в топливо нижней части поплавка). В случае необходимости уровень топлива можно изменить подгибанием язычка поплавка. Необходимо следить, чтобы поплавок не касался стенок поплавковой камеры. При каждой следующей проверке уровня топлива следует предварительно убрать топливо из поплавковой камеры, установить крышку карбюратора, подсоединить шланг подачи топлива и наполнить поплавковую камеру с помощью рычага ручной подкачки топлива.
