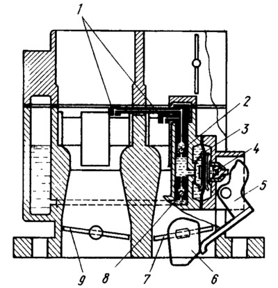
Рис. 49. Схема ускорительного насоса:
1 - распылители; 2 - шариковый клапан подачи топлива: 3 - диафрагма насоса; 4 - толкатель; 5 - рычаг привода; 6 - кулачок привода насоса; 7 - дроссельная заслонка первой камеры; 8 - обратный шариковый клапан; 9 - дроссельная заслонка второй камеры.
При резком открытии дроссельной заслонки 7 кулачок 6 нажимает на рычаг 5 и через пружину в толкателе 4 действует на диафрагму 3, преодолевая сопротивление возвратной пружины. Диафрагма подает топливо через шариковый клапан 2 подачи топлива и впрыскивает его через распылитель 1 в первую и вторую смесительные камеры, обогащая горючую смесь. При обратном ходе диафрагмы под действием возвратной пружины из поплавковой камеры засасывается топливо через обратный шариковый клапан 8 в рабочую полость ускорительного насоса. Количество топлива, впрыскиваемого ускорительным насосом, не регулируется и зависит только от профиля кулачка.
[Материал размещен на веб-сайте: VAZBOOK.ru]
