Телескопическая стойка
Промывают бензином или керосином все детали и просушивают их. Проверяют соответствие деталей следующим требованиям:
- диски клапанов сжатия и отдачи, а также тарелка перепускного клапана не должны быть деформированы; не-плоскостность тарелки перепускного клапана допускается не более 0,05 мм;
- рабочие поверхности поршня, поршневого кольца, направляющей втулки, штока, цилиндра, плунжера буфера отдачи и деталей клапанов должны быть без задиров, вмятин и следов износа, могущих повлиять на нормальную работу стойки;
- рабочие кромки сальника должны быть без повреждений и износа;
- не допускаются риски, задиры и отслоения фторопластового слоя у направляющей втулки штока;
- пружины клапанов отдачи и сжатия, а также плунжеры буфера отдачи должны быть целы и достаточно упруги;
- внутренняя поверхность корпуса стойки должна быть чистой, без рисок и повреждений, резьба должна быть в хорошем состоянии; проверяют герметичность корпуса стойки воздухом под давлением 3 кгс/см²;
- корпус стойки, кронштейн, чашка пружины и поворотный рычаг не должны иметь деформаций и повреждений;
- буфер хода сжатия и защитный кожух не должны иметь повреждений.
Сварка (заварка) стойки не допускается, так как это может повлиять на изменение углов установки колес и на работоспособность стойки.
Рычаги подвески
Деформация рычагов подвески определяется приспособлением 67.7851.9508. Рычаг в сборе с шаровым шарниром устанавливается так, чтобы оправка для центровки сочленялась с конусом пальца шарового шарнира рычага, а установочные пальцы приспособления заходили в среднее и крайнее отверстия рычага. Признаком деформации является невозможность введения без усилия установочных пальцев в отверстие рычага или плохое сочленение оправки с конусом пальца шарнира.
Шаровые шарниры
Убеждаются в сохранности чехлов шарниров. Разрывы, трещины, отслоения резины от металлической арматуры, следы утечки смазки через чехол недопустимы. Допускается незначительное выдавливание смазки через литниковое отверстие в корпусе шарового шарнира.
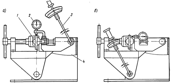
Проверяют, нет ли износа рабочих поверхностей шаровых шарниров, поворачивая вручную шаровой палец. Значительный (свыше 0,5 мм) люфт пальца и его заедание недопустимы. Точная проверка состояния шарового шарнира по величине радиального и осевого зазора проводится на приспособлении 32.8701.9502. Для этого устанавливают паровой шарнир 1 (рис. 95, а) в гнездо приспособления и зажимают его винтом. Устанавливают в кронштейн приспособления индикатор 2 так, чтобы его ножка упиралась в боковую поверхность корпуса шарнира, а стрелка индикатора стояла на нуле.
Рис. 95. Проверка шарового шарнира на приспособления 02.8701.9503
Устанавливают динамометрический ключ 3 в верхнее гнездо приспособления и, приложив к нему момент 20 кгс·м попеременно в обе стороны, определяют по индикатору суммарный радиальный зазор в шаровом шарнире. Если он превышает 0,5 мм, шарнир заменяют новым.
Аналогично проверяют осевой зазор в шаровом шарнире, предварительно изменив его крепление в приспособлении, как указано на рис. 95, б. Осевой зазор в шарнире допускается также не более 0,5 мм.
Стабилизатор поперечной устойчивости
Проверяют, не деформирована ли штанга и находятся ли ее концы в одной плоскости; если деформация незначительная, то выправляют штангу, при значительной деформации ее заменяют. Проверяют состояние и сохранность подушек в кронштейнах штанги. При износе или повреждении подушки заменяют. Проверяют калибром деформацию стоек стабилизатора; если пальцы калибра не заходят в отверстия стойки, заменяют ее.
Пружины подвески
Тщательно осматривают пружины. Если обнаружены трещины или деформация витков, заменяют пружину новой. Для проверки осадки пружины трехкратно прожимают ее до соприкосновения витков, затем прикладывают к пружине усилие 325 кгс. Высота пружины Н (рис. 96) под такой нагрузкой должна быть не менее 201 мм. Сжатие пружины проводят по ее оси; опорные поверхности должны соответствовать поверхностям опорных чашек на телескопической стойке. Если пружина с желтой маркировкой (класс А) имеет длину более 207 мм, сменяют ее маркировку на зеленую (класс Б).
Рис. 96. Параметры для проверки усадки пружины
Растяжки и резинометаллические шарниры
Деформация растяжек определяется приспособлением 67.7851.9509. При незначительной деформации растяжку выправляют на прессе. При невозможности правки заменяют растяжку новой.
Признаки, по которым определяется необходимость замены шарниров, описаны выше в разд. «Определение технического состояния деталей подвески на автомобиле».
Верхняя опора телескопической стойки
Проверяют упругую характеристику (осадку) верхней опоры, приложив усилие 700 кгс на подшипник (рис. 97) опоры и замерив расстояние А от торца подшипника до торца наружного корпуса опоры. Это расстояние не должно превышать 27 мм. В противном случае заменяют опору новой.
Рис. 97. Проверка упругой деформации (осадки) верхней опоры
Убеждаются, что подшипник не имеет осевого перемещения в корпусе опоры. Не допускается коррозия, повреждение или заедание подшипника вследствие износа. В этих случаях заменяют подшипник новым. Проверяют состояние корпуса опоры. Не допускаются отслоения резины, порывы, трещины.
Размеры основных сопрягаемых деталей приведены в табл. 11.

