Используемое топливо — бензин АИ-93.
Система питания включает в себя: топливный бак, топливный насос, воздушный фильтр, карбюратор, впускной и выпускной трубопроводы, трубу глушителей, основной и дополнительный глушители.
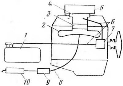
Принципиальная схема системы питания двигателя автомобиля «Нива» ВАЗ-2121 показана на рис. 13. Топливо из бака 1 подается насосом 7 по трубопроводам в карбюратор 4. Через воздушный фильтр 5 в карбюратор поступает воздух. Приготовленная в карбюраторе горючая смесь подается в цилиндры двигателя по впускному трубопроводу 3. Отработавшие газы отводятся из цилиндров двигателя в атмосферу через выпускной трубопровод 2, трубу 8 глушителей и глушители 9 и 10.
Рис. 13. Принципиальная схема системы питания двигателя:
1 - топливный бак; 2 - выпускной трубопровод; 3 - впускной трубопровод; 4 - карбюратор; 5 - воздушный фильтр; 6 - трубопроводы; 7 - топливный насос; 8 - труба глушителей; 9 - дополнительный глушитель; 10 - основной глушитель.
Топливный бак автомобиля имеет емкость 45 л. Наполненный бак обеспечивает пробег автомобиля в 350—400 км. Топливный бак сварен из двух стальных штампованных корытообразных половин. В верхней части бак имеет заливную горловину с герметичной пробкой, а в нижней — сливное отверстие с пробкой. Количество топлива в баке контролируется указателем, датчик которого установлен внутри бака. Связь бака с атмосферой и его вентиляция осуществляется через воздушную трубку.
Топливный насос (рис. 14) служит для подачи топлива из топливного бака в карбюратор. Топливный насос диафрагменного тина. Между верхней 3 и нижней 13 частями корпуса насоса установлен блок диафрагм 15, который соединен со штоком 7. Шток охватывается вильчатым концом балансира 11 рычага 12 привода насоса. На штоке установлена пружина 14 блока диафрагм. В верхней части корпуса насоса находятся всасывающий 6 и нагнетательный 16 клапаны. Привод насоса осуществляется толкателем от эксцентрика вала привода масляного насоса. Под воздействием эксцентрика толкатель нажимает на верхнюю часть рычага 12, а балансир 11 через шток 7 перемещает блок диафрагм 15 вниз. При этом пружина 14 сжимается. Объем полости над блоком диафрагм увеличивается, и топливо под действием разрежения из бака поступает в насос через всасывающий патрубок 4, сетчатый фильтр 2 и всасывающий клапан 6. Нагнетательный клапан насоса при этом закрыт. Вверх блок диафрагм перемещается под действием пружины 14, когда балансир 11 не удерживает шток 7. Под давлением топлива открывается нагнетательный клапан 16, и топливо через нагнетательный патрубок 1 поступает в карбюратор. Всасывающий клапан насоса в этом случае закрыт. Когда поплавковая камера карбюратора будет заполнена, запорная игла поплавка перекроет доступ топлива в карбюратор. При этом блок диафрагм топливного насоса останется в нижнем положении, и рычаг 12 с балансиром будут перемещаться вхолостую. Рычаг 8 служит для ручной подкачки топлива в карбюратор перед пуском двигателя. Он воздействует на балансир 11 через эксцентрик 10.
Рис. 14. Топливный насос:
1 - нагнетательный патрубок; 2 - сетчатый фильтр; 3 - верхняя часть корпуса; 4 - всасывающий патрубок; 5 - крышка; 6 - всасывающий клапан; 7 - шток; 8 - рычаг ручной подкачки топлива; 9 - пружина рычага ручной подкачки; 10 - эксцентрик; 11 - балансир; 12 - рычаг механической подкачки топлива; 13 - нижняя часть корпуса; 14 - пружина блока диафрагм; 15 - блок диафрагм; 16 - нагнетательный клапан.
Воздушный фильтр очищает воздух, поступающий в карбюратор, от пыли и других примесей. Пыль содержит мельчайшие кристаллы твердого кварца, которые, оседая на смазанные поверхности деталей, вызывают интенсивный их износ.
Воздушный фильтр на автомобиле сухого типа. Он имеет сменный фильтрующий элемент, состоящий из бумажного фильтра и слоя синтетической ваты. В фильтре воздух при очистке сначала проходит через слой синтетической ваты, а потом через бумажный фильтрующий элемент.
Карбюратор приготовляет горючую смесь, соответствующую по . составу режиму работы двигателя. Он двухкамерный, с падающим потоком, балансированный.
Карбюратор имеет две смесительные камеры, которые включаются в работу последовательно: сначала основная (первичная) камера, а при увеличении нагрузки — дополнительная (вторичная) камера. Это позволило повысить мощность двигателя за счет лучшей дозировки и распределения горючей смеси по цилиндрам двигателя. Поток горючей смеси в камерах карбюратора движется сверху вниз, что улучшает наполнение цилиндров смесью. Поплавковая камера карбюратора балансированная (уравновешенная), так как связь ее с атмосферой осуществляется через воздушный фильтр. Это обеспечивает приготовление карбюратором горючей смеси, не зависящей по своему составу от степени засорения воздушного фильтра.
Схемы систем и устройств карбюратора, обеспечивающих приготовление горючей смеси при различных режимах работы двигателя, предотавлепы на рис. 15.
Рис. 15. Схемы систем и устройств карбюратора:
а - главная дозирующая система; б - пусковое устройство и привод дроссельных заслонок; в - система холостого хода; г - ускорительный насос;
1 - большой диффузор; 2 - малый диффузор; 3, 47 - распылители; 4, 28 - воздушные жиклеры; 5 - игольчатый клапан; 6 - поплавок; 7 - поплавковая камера; 8 - топливный жиклер; 9 - эмульсионный колодец; 10 - эмульсионная трубка; 11 - рычаг управления воздушной заслонкой; 12 - воздушная заслонка; 13 - воздушный патрубок; 14 - тяга воздушной заслонки; 15 - шток; 16, 42 - диафрагмы; 17 - полость разрежения; 18 - телескопическая тяга; 19 - регулировочный винт дроссельной заслонки; 20 - рычаг управления дроссельными заслонками; 21, 39 - секторы; 22 - дроссельная заслонка первичной камеры; 23 - промежуточный рычаг; 24 - дроссельная заслонка вторичной камеры; 25, 26, 40 - рычаги; 27 - тяга; 29 - жиклер холостого хода; 30, 38 - топливные каналы; 31 - регулируемое отверстие; 32 - отверстия переходных режимов; 33, 35 - регулировочные винты; 34 - эмульсионный канал; 36 - шариковый клапан; 41 - пружина диафрагмы; 43 - впускной шариковый клапан; 44 - перепускной жиклер.
Главная дозирующая система приготовляет обедненную горючую смесь (на 1 кг бензина приходится до 16,5 кг воздуха) при работе двигателя на частичных (средних) нагрузках. Приготовленная смесь по составу близка к экономичной во всем диапазоне частичных нагрузок.
На рис. 15, а показана главная дозирующая система первичной камеры.
Топливо из поплавковой камеры 7 карбюратора через главный топливный жиклер 8 поступает в эмульсионный колодец 9. В этом колодце топливо смешивается с воздухом, выходящим из отверстий эмульсионной трубки 10, в которые воздух поступает через воздушный жиклер 4. Эмульсия через распылитель 3 поступает в малый 2 и большой 1 диффузоры карбюратора и перемешивается с воздухом, проходящим через диффузоры, в результате чего образуется горючая смесь. Главная дозирующая система вторичной камеры устроена и работает аналогично первичной. Дроссельная заслонка вторичной камеры начинает открываться после поворота дроссельной заслонки первичной камеры примерно на 50° от своего первоначального положения.
Привод дроссельных заслонок (рис. 15, б) осуществляется через рычаг 20 и сектор 21, которые закреплены на оси заслонки 22 первичной камеры карбюратора. При этом рычаг 20 и сектор 21 поворачиваются против часовой стрелки. Заслонка 22 открывается, а сектор действует на промежуточный рычаг 23, который через рычаг 25 открывает заслонку 24 вторичной камеры карбюратора. Полное открытие дроссельных заслонок первичной и вторичной камер карбюратора происходит одновременно.
Пусковое устройство (см. рис. 15, б) обеспечивает приготовление богатой горючей смеси (на 1 кг бензина приходится менее 13 кг воздуха) при пуске холодного двигателя. Пусковым устройством карбюратора является воздушная заслонка 12, которая установлена в воздушном патрубке 13 первичной камеры. При пуске холодного двигателя трехплечий рычаг 11 при помощи тяги 27 и рычага 26 приоткрывает дроссельную заслонку 22 первичной камеры карбюратора. При этом телескопическая тяга 18 воздействует на рычаг оси воздушной заслонки 12, которая перекрывает воздушный патрубок 13 перед распылителями и диффузорами. Количество воздуха, проходящего через карбюратор, уменьшается. Разрежение в диффузорах возрастает, и топливо начинает вытекать из распылителей главной дозирующей системы карбюратора, обеспечивая образование горючей смеси. При первых вспышках и последующей работе двигателя на холостом ходу разрежение из-под дроссельных заслонок передается в полость 17 под диафрагмой 16. Диафрагма прогибается и через шток 15 и тягу 14 приоткрывает воздушную заслонку для доступа необходимого количества воздуха.
Система холостого хода (рис. 15, в) готовит обогащенную горючую смесь (на 1 кг бензина приходится до 13 кг воздуха) при работе двигателя на холостом ходу. Топливо из эмульсионного колодца 9 через канал 30 поступает к жиклеру холостого хода 29, где перемешивается с воздухом, поступающим через воздушный жиклер 28. Полученная эмульсия смешивается с воздухом, проходящим через отверстие, регулируемое винтом 35. Затем эмульсия выходит под дроссельную заслонку 22 первичной камеры по каналу 34 через отверстие 31, которое регулируется винтом 33. Отверстия 32, расположенные над дроссельной заслонкой 22, обеспечивают плавный переход двигателя с холостого хода на частичные нагрузки. Системой холостого хода снабжена только первичная камера карбюратора. Вторичная камера карбюратора имеет переходную систему, которая плавно включает камеру в работу при небольших открытиях дроссельной заслонки. По схеме и принципу действия переходная система вторичной камеры аналогична системе холостого хода первичной камеры и отличается отсутствием регулировочных винтов.
Ускорительный насос (рис. 15, г) обогащает горючую смесь при резком переходе двигателя с- частичной нагрузки на полную (обгон и т.п.). Он улучшает приемистость двигателя, т. е. способность быстро развивать наибольшую мощность.
При резком открытии дроссельной заслонки первичной камеры карбюратора сектор 39, установленный на оси заслонки, действует на рычаг 40, который давит на диафрагму 42. Диафрагма, преодолевая усилие возвратной пружины, прогибается и выталкивает топливо через канал 38, клапан 36 и распылитель 37 в диффузор первичной камеры. Клапан 43 при этом закрывается. Сектор 39 имеет профиль, обеспечивающий двойной впрыск топлива. Причем, второй впрыск топлива совпадает с моментом открытия дроссельной заслонки вторичной камеры карбюратора.
Впускной и выпускной трубопроводы. Впускной трубопровод служит для равномерной подачи горючей смеси из карбюратора в цилиндры двигателя. Он отлит из алюминиевого сплава. Для лучшего испарения топлива, оседающего на стенках, впускной трубопровод имеет обогреватель (рубашку), который соединен с рубашкой охлаждения головки блока цилиндров.
Обогреватель впускного трубопровода через штуцер связан с обогревателем корпуса дроссельных заслонок карбюратора. Связь впускного трубопровода с атмосферой осуществляется с помощью специальной трубки. Выпускной трубопровод отводит отработавшие газы из цилиндров двигателя. Трубопровод отлит из чугуна. Впускной и выпускной трубопроводы крепятся к головке блока цилиндров через прокладку.
Глушитель уменьшает шум при выпуске отработавших газов из цилиндров двигателя. Глушитель автомобиля стальной, сварен из двух штампованных половин. Внутри глушителя имеются труба с большим количеством отверстий и поперечные перегородки. Снаружи глушитель покрыт теплоизоляционными асбестовыми накладками и заключен в защитный стальной кожух. Отработавшие газы, поступающие в глушитель, расширяются и, проходя через отверстия в трубе, резко снижают свою скорость. Это и приводит к уменьшению шума выпуска отработавших газов.
