Конструкция подвески создает отрицательное плечо обката, т. е. точка пересечения оси поворота колеса с полотном дороги лежит с внешней стороны относительно центра пятна контакта шины с дорогой. В комплексе с диагональной схемой разделения гидропривода тормозов это делает автомобиль более устойчивым при торможении на скользкой дороге.
Рис. 81. Телескопическая стойка подвески в сборе с поворотным кулаком и ступицей колеса
Основным элементом подвески является телескопическая гидравлическая амортизаторная стойка 7 (рис. 81), которая совмещает в себе функции направляющего и гасящего устройств подвески. Нижняя часть телескопической стойки соединяется с поворотным кулаком 5 двумя болтами. Верхний болт 6, проходящий через овальное отверстие кронштейна стойки, имеет эксцентриковые поясок и шайбу. При повороте верхнего болта изменяется развал передних колес. В поворотном кулаке установлена на шариковом подшипнике ступица 2 переднего колеса в сборе с тормозным диском 3, защищенным кожухом 4. На телескопической стойке установлены: между опорными чашками 9 и 13 витая цилиндрическая пружина 10, пенополиуретановый буфер 12 хода сжатия с защитным кожухом 11, а также верхняя опора 15 стойки в сборе с подшипником 14. Телескопическая стойка через поворотный рычаг 8 соединяется с тягой рулевого привода. Нижней опорой для стойки служит шаровой шарнир 1.
Рис. 82. Крепление верхней опоры подвески
Верхняя опора стойки крепится тремя самоконтрящимися гайками 1 (рис. 82) к стойке брызговика кузова. За счет своей эластичности опора обеспечивает «качание» стойки при ходах подвески и гасит высокочастотные вибрации. Вмонтированный в нее подшипник дает возможность стойке поворачиваться вместе с управляемыми колесами.
В корпусе стойки смонтированы детали телескопического гидравлического амортизатора (рис. 83 и 84). В верхней части цилиндра установлен гидравлический буфер хода отдачи, состоящий из плунжера 15 и пружины 16. Он ограничивает перемещение штока при ходе отдачи.
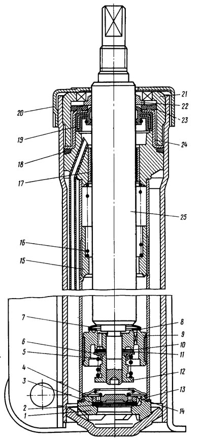
Рис. 83. Телескопическая стойка: 1 - корпус клапана сжатия; 2 - диски клапана сжатия; 3 - дроссельный диск клапана сжатия; 4 - тарелка клапана сжатия; 5 - пружина; 6 - тарелка клапана отдачи; 7 - пружина перепускного клапана; 8 - тарелка перепускного клапана; 9 - поршень с кольцом; 10 - дроссельный диск клапана отдачи; 11 - диски клапана отдачи; 12 - гайка клапана отдачи; 13 - обойма клапана сжатия; 14 - пружина; 15 - плунжер; 16 - пружина плунжера; 17 - направляющая втулка штока со сливной трубкой; 18 - уплотнительное кольцо; 19 - сальник; 20 - опора буфера сжатия; 21 - гайка корпуса; 22 - защитное кольцо штока; 23 - уплотнительное кольцо резервуара; 24 - обойма сальника; 25 - шток |
Рис. 84. Детали клапанов и уплотнения телескопической стойки. Цифровые обозначения соответствуют рис. 83 |
Нижняя часть поворотного кулака 12 (рис. 85) соединяется шаровым шарниром 13 с поперечным рычагом 1 подвески. Тормозные и тяговые силы воспринимаются продольными растяжками 8, которые через резинометаллические шарниры соединяются с поперечными рычагами 1 и с кронштейнами 10. В местах соединения растяжки с рычагом и с кронштейном устанавливаются регулировочные шайбы 9, которыми регулируется угол продольного наклона оси поворота. В поворотном кулаке установлен двухрядный радиально-упорный подшипник закрытого типа, на внутренних кольцах которого установлена с натягом ступица 2 (см. рис. 81). Подшипник затягивается гайкой на хвостовике корпуса наружного шарнира привода колеса и не регулируется. Все гайки передних и задних ступиц колес одинаковые и имеют правую резьбу.
Рис. 85. Подвеска правого переднего колеса
Стабилизатор поперечной устойчивости представляет собой штангу 2 (см. рис. 85), концы которой через стойки 5 с резиновыми и резинометаллическими шарнирами соединяются с поперечными рычагами 1 подвески. Средняя (торсионная) часть штанги крепится к кузову кронштейнами 3 через резиновые подушки.
Возможные неисправности передней подвески, их причины и методы устранения приведены в табл. 10.
