Блок цилиндров
По сравнению с двигателем 2108 высота блока цилиндров уменьшена на 5,6 мм и составляет 242—242.2 мм. Особенностей в ремонте блока цилиндров нет.
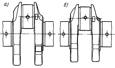
Коленчатый вал
В связи с уменьшенным ходом поршня уменьшено на 5,2 мм расстояние между осями шатунных и коренных шеек. Коленчатые валы двигателей 21081 можно отличить по габаритным размерам и по расположению смазочных отверстий на шатунных шейках. У коленчатых валов 21081 они смещены на 3,7 мм от оси шейки в направлении коренных шеек, а у коленчатых валов 2108 — на 1,5 мм в другую сторону от оси (рис. 185).
Рис. 185. Расположение смазочных отверстий на шатунных шейках коленчатого вала двигателей 2108 (а) и 21081 (б)
При шлифовании шатунных шеек расстояние между осями шатунных и коренных шеек необходимо выдерживать таким, чтобы ход поршня составлял 60,6+0,05-0,10 мм.
Головка цилиндров
Головка цилиндров двигателей 21081 и 2108 различаются только местом установки шпильки натяжного ролика. На двигателях 2108 шпилька завертывается в нижнее отверстие 1 (рис. 186), а на двигателях 21081— в верхнее отверстие 2.
Рис. 186. Расположение шпилек натяжного ролика на головках цилиндров
Распределительный вал. Имеет другой профиль и угловое расположение кулачков, так как на двигателе 21081 иные фазы газораспределения. Для отличия распределительного вала двигателей 21081 на нем с правой стороны от третьего кулачка отлит цилиндрический поясок шириной 5 мм и диаметром 30 мм.
Карбюратор
Установлен карбюратор 21081 — 1107010, отличающийся тариро-вочными данными (табл. 33).
Методы его разборки, сборки и регулировки такие же, как у карбюратора 2108—1107010.

* Условный расход топливных жиклеров определяется по эталонным жиклерам по специальной методике. Контролю в процессе эксплуатации не подлежат.
Примечание. Маркировка жиклеров определяется расходом, который замеряется с помощью микроизмерителей. Настройка микроизмерителей осуществляется по эталонным жиклерам.
Система выпуска отработавших газов
Установлен выпускной коллектор с одним выходным отверстием для отработавших газов и приемная труба глушителей с одним трубопроводом. Также изменен прижим и кронштейн крепления приемной трубы к блоку цилиндров.
Система зажигания
Устанавливается датчик-распределитель зажигания типа 40.3706-10 с иными характеристиками центробежного и вакуумного регуляторов опережения зажигания (рис. 187 и 188). Для отличия этих датчиков-распределителей зажигания, на крышке вакуумного регулятора ставится метка красного цвета.
Рис. 187. Характеристика центробежного регулятора датчика-распределителя зажигания типа 40.3706-10:
А — угол опережения зажигания;
n — частота вращения валика датчика-распределителя зажигания
Рис. 188. Характеристика вакуумного регулятора датчика-распределителя зажигания типа 40.3706-10:
А — угол опережения зажигания;
Р — разрежение
Начальный угол опережения зажигания двигателей 21081 составляет 6°±1°.
