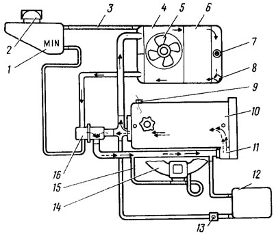
Рис. 7. Принципиальная схема системы охлаждения: 1 - расширительный бачок; 2 - пробка расширительного бачка; 3 - шланг от расширительного бачка к радиатору; 4 - кожух вентилятора; 5 - электро вентилятор; 6 - радиатор; 7 - датчик включения электровентилятора; 8 - сливная пробка радиатора; 9 - сливная пробка блока цилиндров; 10 - двигатель; 11 - насос охлаждающей жидкости; 12 - радиатор отопителя салона кузова; 13 - край отопителя; 14 - впускной трубопровод; 15 шланг отвода жидкости от впускного трубопровода и карбюратора; 16 - термостат. Штриховыми стрелками показана циркуляция жидкости при холодном двигателе (малый круг), а сплошными стрелками - при прогретом (большой круг)
Горячая жидкость отводится от головки цилиндров в радиатор или, минуя его (в зависимости от положения клапанов термостата) поступает в насос, из которого направляется в блок цилиндров двигателя.
В систему охлаждения двигателя включены отопитель 12 салона кузова, жидкость в который поступает из головки цилиндров через отводящий патрубок и кран 13 отопителя и отводится к насосу, а также обогрев карбюратора, жидкость в который поступает из рубашки впускного трубопровода 14 и отводится к насосу через шланг 15.
Для компенсации изменений объема и давления охлаждающей жидкости имеется расширительный бачок 1, который соединен шлангами с термостатом в зоне входа жидкости от радиатора и с радиатором
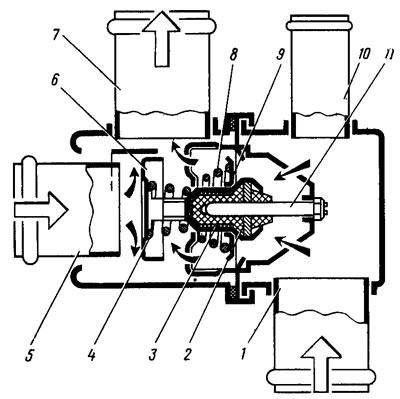
Насос охлаждающей жидкости
Центробежного типа, с приводом от зубчатого ремня двигателя; устанавливается на блок цилиндров 3 (рис. 8). Валик 5 ставится в корпусе 2 на двухрядном шариковом подшипнике 8, который стопорится винтом 1. На валик напрессовываются зубчатый шкив 9 и крыльчатка 4. которая уплотняется сальником 7 и уплотнительным кольцом 6 из графитной композиции.
Рис. 8. Насос охлаждающей жидкости
Электровентилятор
Взаимозаменяем с электровентилятором двигателя ВАЗ-2103. Включение и выключение вентилятора осуществляются в зависимости от температуры охлаждающей жидкости датчиком, ввернутым в правый бачок радиатора.
Радиатор
Сборный, алюминиевый, с пластмассовыми бачками; сердцевина радиатора — с двумя рядами горизонтальных трубок. Радиатор устанавливается на резиновых подушках. Левый бачок радиатора соединяется шлангом с расширительным бачком. Расширительный бачок закрывается пробкой с клапанами. Давление начала открытия выпускного клапана не менее 1,2 кгс/см², впускного — 0,034-0,13 кгс/см².
Термостат
Неразборный, с твердым термочувствительным элементом, с основным 9 (рис. 9) и перепускным 6 клапанами, работающими в интервале температур охлаждающей жидкости 87-102°C.
Рис. 9. Термостат: 1 - входной патрубок (от радиатора); 2 - резиновая вставка; 3 - твердый термочувствительный наполнитель; 4 - пружина дополнительного клапана; 5 - входной патрубок (от двигателя); 6 - перепускной клапан; 7 - выходной патрубок (к насосу); 8 - пружина основного клапана; 9 - основной клапан; 10 - патрубок (от расширительного бачка); 11 - поршень
