Рис. 110. Схема бесконтактной системы зажигания:
1 - реле зажигания; 2 - выключатель зажигания; 3 - монтажный блок; 4 - катушка зажигания; 5 - коммутатор; 6 - датчик-распределитель зажигания; 7 - свечи зажигания.
Ток, протекающий по первичной обмотке катушки зажигания, создает вокруг витков обмотки магнитное поле. В момент прерывания тока магнитное поле резко уменьшается и, пересекая витки вторичной обмотки, индуцирует в ней ЭДС около 22...25 кВ. Ток высокого напряжения идет к свечам зажигания и замыкается по пути: вторичная обмотка катушки зажигания, провод высокого напряжения, центральная клемма крышки, центральный и наружный контакты ротора, боковой электрод крышки датчика-распределителя зажигания, свеча зажигания, «масса». Затем по параллельным цепям ток проходит через аккумуляторную батарею, генератор, все включенные потребители, на контакты «87» и «30» реле зажигания, на зажим «+Б» и к вторичной обмотке катушки зажигания.
Высокое напряжение, подводимое к центральному электроду свечи зажигания, пробивает воздушный зазор между электродами, и между ними проскакивает искра, воспламеняющая рабочую смесь в цилиндре двигателя.
Для получения максимальной мощности и экономичности двигателя необходимо воспламенять рабочую смесь несколько ранее прихода поршня в ВМТ, чтобы сгорание закончилось при повороте коленчатого вала на 10...15° после ВМТ. Чтобы сгорание топлива происходило своевременно, каждой частоте вращения двигателя необходим свой угол опережения зажигания. При уменьшении частоты вращения коленчатого вала угол опережения зажигания должен уменьшаться, а при увеличении — увеличиваться.
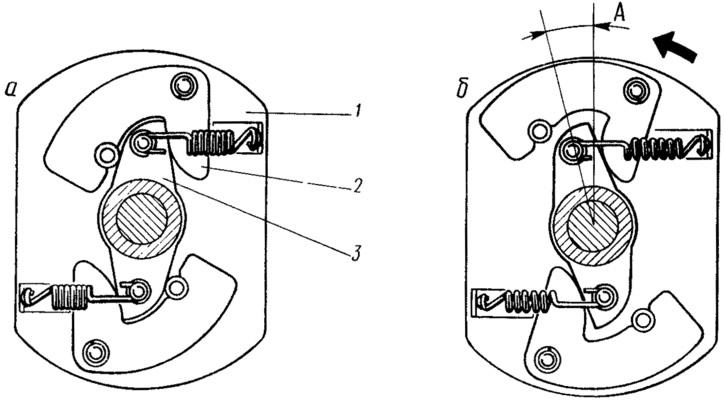
При высокой частоте вращения грузики 1 (рис. 111) под действием центробежных сил поворачиваются относительно своих осей, упираются в ведомую пластину 3 и, преодолевая натяжение пружин, поворачивают ее вместе с экраном 9 (см. рис. 107) в направлении вращения валика датчика-распределителя зажигания на угол «А» (рис. 111, б). Теперь прорезь экрана на угол «А» раньше проходит через зазор датчика и он раньше выдает импульс, т. е. опережение зажигания увеличивается. При снижении частоты вращения центробежные силы уменьшаются, и пружины поворачивают ведомую пластину 3 вместе с экраном против направления вращения валика, т. е. опережение зажигания уменьшается.
Рис. 111. Схема работы центробежного регулятора опережения зажигания при малой частоте (а) вращения коленчатого вала и при большой частоте (б):
1 - ведущая пластина центробежного регулятора; 2 - грузики; 3 - ведомая пластина центробежного регулятора.
При изменении нагрузки на двигатель изменяется содержание остаточных газов в цилиндрах двигателя. При больших нагрузках, когда дроссельные заслонки карбюратора полностью открыты, содержание остаточных газов в рабочей смеси низкое, поэтому смесь сгорает быстрее и зажигание должно происходить позже. При снижении нагрузки на двигатель (прикрытие дроссельных заслонок) количество остаточных газов увеличивается, рабочая смесь горит дольше и зажигание должно происходить раньше. Корректировку угла опережения зажигания в зависимости от нагрузки на двигатель выполняет вакуумный регулятор опережения зажигания.
На диафрагму 20 (см. рис. 107) этого регулятора действует разрежение, передаваемое из зоны над дроссельной заслонкой первичной камеры карбюратора. Когда дроссельная заслонка закрыта (холостой ход двигателя), отверстие, откуда берется разрежение, оказывается выше кромки дроссельной заслонки, над которой нет разрежения, поэтому вакуумный регулятор не работает.
При небольших открытиях дроссельной заслонки в зоне отверстия появляется разрежение, которое передается к вакуумному регулятору. Диафрагма 20 прогибается и тягой 21 поворачивает опорную пластину датчика против направления вращения валика датчика-распределителя зажигания. Опережение зажигания увеличивается. По мере дальнейшего открытия дроссельной заслонки (увеличение нагрузки) разрежение уменьшается и пружина отжимает диафрагму в исходное положение. Опорная пластина датчика поворачивается в направлении вращения валика, и опережение зажигания уменьшается.
